-
設立公司后,每個月要交多少稅?很多老板在初始設立公司的時候,經常會問到的問題就是“我設立公司以后,每個月要繳納多少稅”?或者“我成立公司后,稅務局是怎么樣收稅的”?這個很好,很多老板最關心的是納稅問題,說明很多老板還是有點納稅意識的。在這里小編跟各位新手老板一起學習一下關于新公司成立后的一些稅務問題。
一、新公司取得營業執照后,要及時做稅務登記
《稅收征收管理法》第15條規定,企業,個體工商戶和從事生產、經營的事業單位自領取營業執照之日起30日內持有關證件,向稅務機關申報辦理稅務登記。
所以,公司在取得營業執照后就要及時到稅務機關做稅務登記,稅務登記也是公司依法納稅的前提。稅務機關對稅務登記是不收費的。
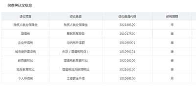
二、公司經常涉及到的稅種
成立公司后,公司都會涉及到需要按期申報的稅種有:1、增值稅及增值稅附加,2、企業所得稅,3、印花稅。基本上公司都會涉及到這三種稅種,其他的稅種不涉及的,基本就不用申報。最終申報的稅種,由以上做稅務登記的時候,由稅務機關核定,核定有什么稅種,公司就需要申報什么稅。具體公司需要申報什么稅種,可以登錄公司的電子稅務局,在“我的信息”那里找到稅種核定信息即可。但公司最重要的稅種也就是“增值稅”和“企業所得稅”了。

三、公司沒有收入也是需要按時報稅的
很多老板都以為,自己的公司剛剛成立,然后沒有收入就不需要做稅務申報,其實這想法是不對的,公司沒有收入也是必須要按時做稅務申報的,如果沒有收入,那么就填“0”收入進行申報。
另外,很多老板還認為,做稅務申報就需要繳納稅款,這個想法也是不對的。做稅務申報不一定需要繳納稅款,這個得看公司的實際情況的。
四、公司如何算稅交稅
接以上第二點來說,公司最重要的稅種就是“增值稅”和“企業所得稅”。搞明白這兩種稅種,基本就明白了公司如何納稅。
1、增值稅
在稅務方面來說,公司分為小規模納稅人和一般納稅人。這兩種納稅人,他們在“增值稅”納稅方面是有區別的,小規模納稅人有它的納稅規定,一般納稅人也有它的納稅規定;小規模納稅人按季申報,一般納稅人按月申報。現在小規模納稅人開具普通發票的收入是免征增值稅的,免征增值稅期限自2022年4月1日至2022年12月31日。所以,在以上時間內取得收入開具普通發票的,基本都是免增值稅了的。但是如果取得收入開具增值稅專用發票就得按3%來繳納增值稅。比如說小編的公司是小規模納稅人取得100萬(不含稅)收入,然后開具一張50萬的普通發票和一張50萬的專用發票,那么開具50萬普通發票的這部分是免增值稅的,而開具50萬專用發票的這部分是按:50萬 X3% = 1.5 萬來繳納增值稅的。而如果小編的公司是一般納稅人,那么小編的公司就需要按100萬X13%=13萬來計算銷項增值稅,然后再抵減當期可抵扣的進項增值稅,最終得到的結果就是一般納稅人當期需要繳納的增值稅。
2、企業所得稅
現在企業所得稅直接了當的算法就是:
收入-成本費用 = 利潤
利潤X 5%=大概應納稅額
為什么用大概應納稅額呢?因為企業所得稅還會享受一些優惠政策,最終算下來實際需要繳納的和大概應納稅額相近。比如說小編的公司第一季度收入是100萬,然后成本費用是90萬,利潤=100萬-90萬=10萬,那么小編公司第一季度所需要繳納的企業所得稅大概應納稅額=10萬X5%=0.5萬。
總的來說,公司成立后,無論有沒有收入都是需要按時報稅的;而報稅不一定要交稅,得根據公司的實際收入情況來確定的。
以上說得很通俗易懂了吧?其實,很多老板不需要知道稅的具體算法,只要知道個大概就行了。專業的事情交給專業的人辦就行了,要不然小編要吃土了,哈哈。
- 上一篇:勾稽是什么意思?會計報表中的勾稽關系
- 下一篇:公司賬戶的錢如何轉到個人賬戶?
-
職工人均上交稅費計算公式
按照計算公式,人均上交稅費包括個人所得稅和社保費用兩個部分。個人所得稅是根據個人的工資薪金、津貼補貼、獎金、股權收益等納稅人的應納所得額,按照稅法規定計算出來的稅款
-
應交稅費明細科目(一般納稅人應交稅費下明細科目具體的運用)
一般納稅人“應交稅費--應交增值稅”科目下有很多明細科目,具體如何運用,今天給大家分享這些明細科目及具體運用。一、應交稅費--應交增值稅下有哪些明細科目呢?應交稅費--應交增值稅下
-
哪種營業執照不用交稅費
辦理了營業執照之后交稅是分情況的,如果辦理營業執照的是公司,只要用戶的公司沒有收入,也就是說只要公司沒有開發票,那么公司是不用交稅的,因為公司的交稅是通過發票來定的。如果辦理的營業
-
應交稅費應交增值稅進項稅額借方表示什么
應交稅費應交增值稅進項稅額借方表示什么,數豆子為大家整理相關資料。應交稅費應交增值稅進項稅額借方表示什么這和"應交稅費"的賬戶的性質有關,應交稅費貸方記增加,借方記減少。進項稅
-
公司轉賬到個人賬戶要交稅嗎
公司轉賬到個人賬戶要交稅嗎,最近很多小伙伴關注這個問題,下面由數豆子為大家整理相關內容,一起來看看吧。公司轉賬到個人賬戶,是否需要交稅,需要具體問題具體分析:1。公司轉賬到股
-
應交稅費已交稅金怎么進行財務處理
應交稅費已交稅金怎么進行財務處理,最近很多小伙伴關注這個問題,下面由數豆子為大家整理相關內容,一起來看看吧。答:1、本月交本月的增值稅借:應交稅金-應交增值稅(已交稅金)貸:銀行
-
年底計提收到的利息如何交稅
年底計提收到的利息如何交稅,經常有小伙伴遇到這個問題,下面由數豆子為大家整理相關內容,一起來看看吧。《中華人民共和國企業所得稅暫行條例規定》第6條規定,“納稅人在生產、經營期
- 資產負債表應交稅費是當月計提嗎
-
合伙企業收到分紅要交稅嗎
合伙企業收到分紅要交稅嗎,如果不太了解沒有關系,本文數豆子搜集整理了相關信息,請大家參考。合伙企業收到分紅要交稅嗎根據《財政部國家稅務總局證監會關于上市公司股息紅利
-
股權轉讓如何交稅?
股權轉讓如何交稅?股權轉讓需要交納個人所得稅和印花稅。個人所得稅=(三股東的注冊資金或者投入資金×80%)×20%。這個交易的過

